Loading···2022年8月19日VIEW:NoneAUTHOR:翰东
随着城市的建设与发展,人们在城市中的工作和生活节奏也在逐步的加快,90%的城市家庭中都是双职工家庭。因此,对家庭中残疾人的照顾势必不周。
内蒙残联&翰东
精神、智力残疾人由于心智难以自控,在生活出行方面存在不便,且难以通过家庭无障碍改造进行消除。
为此,内蒙古残疾人联合会携手翰东技术有限公司,结合物联网技术,创新残疾人家庭无障碍改造模式,拓展残疾人无障碍服务方式,为精神、智力残疾人打造无障碍暖心服务。
问:
残疾人护理现状需求是什么?
1.有精神病、智障的患者,家人如何随时监控他的去向;
2.盲人单独出行时,如何按照正确路线行走,如何保障自身的安全;
3.肢体残疾者或者聋哑患者遇到紧急情况时,家人如何准确地获取其位置并实行救援;
4.要特别关注残疾人的心理需求,残疾人很希望是自己独立完成一件事情,而不是在别人的指导或监督帮助下完成。
因此提供一套高效科学的解决方案,以此来保障残疾人出行安全是十分必要的。
经过与当地机构沟通,我司针对应用场景针对性对推出内蒙古残疾人联合会综合服务平台残疾人定位服务系统通过电子定位装置(定位腕表)进行位置数据管理,从而实现残疾人员位置信息同步掌握、管理部门远程掌握人员轨迹、SOS紧急求助、紧急报警(越界报警、超时停留报警、低电压报警)为管理工作带来更高效、直观的效果。
电子定位装置
电子腕表
腕表内置 GPS/北斗/Wi-Fi/LBS四种定位方式,采用混合定位的方式,自动根据用户使用网络环境筛选出定位精度最高的模式。室外空旷区域采用定位精度更高的GPS、北斗定位模式,室内、地下停车场、高楼林立等卫星信号较弱的地方采用LBS+WIFI的混合定位模式,实现全天候,全地域无死角定位追踪监控。
设备主动获取定位信息——经纬度,然后直接通过网络发送到服务器,服务器使用GIS系统将经纬度解析到地图上显示。
同时,腕表内置血压、血氧、心率健康监测方式,设备主动获取健康监测信息,然后直接通过网络发送到服务器并推送相关机构或者监管人员。
系统功能
移动管理端APP
系统功能-PC应用端(B/S)
01登陆查看主页
提供管理员登录操作页面;实现身份及权限验证;通过身份验证才能跳转至管理平台页面。
可查看系统主页信息,比如数据统计、实时统计、快捷方式、报警信息、登录信息。
02管理中心
任务管理
任务管理,即人员和设备关系管理,主要根据设备信息和人员信息进行绑定。通过操作任务,实现任务时间线性记录。过程中可以终止任务。
指令操作
系统支持短信发送(包含群发)、主动定位、远程关机、远程重启、定位频率修改、白名单等相关修改指令操作。
消息推送
指令设置模块的短信发送模块可以与web端、腕表端、APP端进行消息推送。
管理后台支持对设备推送短消息通知,支持腕表触发报警后短信通知用户。
系统支持对佩戴腕表的残疾人员定向发送短消息,相关机构通过平台选定腕表终端、管理人员通过PC、手机APP(管理端),编辑需要推送的消息内容,可及时将消息内容推送到相关联的腕表并进行显示。
根据需要可向全员、部分区域的服务群体及特定单一用户发送消息推送。
系统记录残疾人请假、外出等情况。信息主要识别人员所属机构,名称,请假时间,是否上传定位数据和备注等信息。
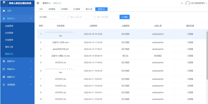
可在系统管理模块上传情况上报:方便上级及相关单位查看相关情况;
用户上传信息后可以在历史记录里面查询到相关上报历史。
情况汇总是用户所有的情况上报汇总信息,按照月度进行自动汇总的报告。
根据基层上传的数据上报到上一级单位,上一级单位可以进行数据下载后查看和分析,系统标记是否下载文档信息。同步反馈给提交的相关人员。
03监管中心
要增强安全意识,对从业人员再开展一次安全技能培训及警示教育,增强事故预防和应急处理能力。
实时定位
自动匹配最优定位模式,并实现模式无缝切换,定时上报佩戴对象的位置信息,并实时显示腕表状态信息人员健康数据(腕表佩戴者)随时掌控,记录随时查询、安全报警实时通知
电子围栏
管理后台支持设置通过行政区域及自定义绘制方式两种方式设置可活动围栏。可自定义选择电子围栏报警类型,支持进入、进出以及进入/进出报警;支持设备电子围栏越界报警检测;支持电子围栏删除记录查询。
历史轨迹
管理后台支持对设备半年内定位数据进行查询并进行轨迹回放,并展示设备电量、设备状态、心率等数据记录。
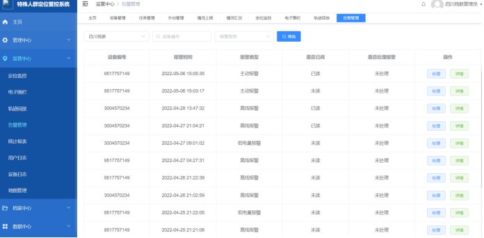
告警管理
包含主动报警、离线报警、电子围栏越界报警、低电量报警等。
统计报表
包含人员统计、设备统计、报警汇总;根据系统数据及业务需求,生成不同时间、不同人员等多种维度的统计数据,并生成可下载的文档。
地图管理
可进行地图、卫星、路网等地图的切换。
04数据中心
对残疾人进行残疾等级划分,详细记录残疾人的残疾证号、残疾类别、持证状态、数据确认状态等。支持用户进行新增、查看、编辑和删除操作。
END
内蒙古残疾人联合会综合服务平台残疾人定位服务系统采用GIS地理信息位置分布可视化数据及北斗/GPS/WIFI+LBS协同多模定位,通过定位腕表与位置管理平台、移动管理端app结合,组成了一套完整的解决方案。具备了快速响应的现场派遣救助、实时位置信息查询、便捷的沟通、提高了残疾人群的自理能力。
我司也希望系统建成后,达到残疾人员位置、状态信息和移动轨迹实时掌控,并以此为基础,将事件位置、违规类型与管理目标真正关联起来。
翰东定位
让管理更简单·让世界更安全