Loading···2022年9月23日VIEW:NoneAUTHOR:翰东
加强口岸城市新冠肺炎疫情防控工作的通知
国际疫情形势越来越严峻,2021年12月31日国务院应对新型冠状病毒肺炎疫情联防联控机制下发了关于加强口岸城市新冠肺炎疫情防控工作的通知。
根据边境口岸疫情防控的需要,加强高风险岗位人员防控以及健全疫情监测预警体系成为重点防疫手段之一。
Q:什么是高风险岗位人员?
A: 入境车辆、进口食品及货物的代驾司机、防疫工作人员、进口货物搬卸工等都属于高风险岗位人员。
境外疫情持续扩散蔓延给我国疫情防控带来压力和挑战,为了完善边境口岸地区的疫情防控机制,统筹经济社会发展和疫情防控,全国边境相关口岸城市及外贸企业陆续出台政策,要求接触入境车辆、进口食品及货物的代驾司机、防疫工作人员、进口货物搬卸工等必须佩戴定位手环,以加强对高风险岗位人员防控,对高风险岗位人员实时定位监管。
因此,及时掌握高风险岗位人员实时情况是当前疫情防控的重点建设内容。
基于此现状,翰东推出的疫情防控人员定位智能管控系统解决方案,很好地解决了高风险岗位人员的监管问题。
由于疫情防控的长期性、复杂性、不确定性,边境口岸城市疫情防控政府单位及全国的外贸企业园区可采用GIS地理信息位置分布可视化数据及北斗/GPS/WIFI+LBS协同多模定位,实现对包括代驾司机、货物消杀防疫工作人员、搬卸工和高风险岗位人员家属以及重点人群进行严格管控,杜绝麻痹思想,侥幸心理,松劲心态,充分利用信息化技术规范和管控入境车辆和进口食品接触的高危人群。
通过定位腕表与位置管理平台、移动管理端app结合,组成了一套完整的解决方案。使用信息化的方法,极大方便了高风险岗位人员的工作生活,提高防疫的工作效率,进一步提升疫情防控力度。
通过位置大数据
实现疑似疫情监控、筛查、回溯与统计,精准回溯疑似/确诊患者在工作场所的接触情况,科学精确的规划隔离高风险岗位人员。
利用位置大数据辅助
进行流行病学调查;追踪疑似/确诊患者历史轨迹,方便加强对其接触区域进行隔离、消毒等。
疫情防控人员定位系统
高风险岗位人员佩戴定位腕表,能够定时更新定位信息、健康监测信息,并将信息通过传输网络传回云平台进行统一管理、分析、统计。实现统一查看高风险岗位人员状态信息,通过权限分配,实时查看本区域的高风险岗位人员定位信息以及报警信息等。
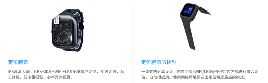
硬件介绍:
两款定位腕表随需选配
室外空旷区域采用定位精度更高的GPS、北斗定位模式,室内、地下停车场、高楼林立等卫星信号较弱的地方采用LBS+WIFI的混合定位模式,实现全天候,全地域无死角定位追踪监控。
腕表内置心率健康监测方式,所谓主动健康监测是指,设备主动获取健康监测信息,然后直接通过网络发送到服务器并推送相关机构或者管理人员。
腕表采用三重检测机制,可有效解决人机分离的问题。
三重检测包括:防拆检测、防剪断检测、心率检测。
腕表采用防水、防尘设计,设备防水性达到IP68的高标准等级,满足高风险人员在整个佩戴期间,包括洗澡、游泳等情况下正常使用。
系统功能:定位+管控
人员实时定位
根据高风险岗位人员实时位置环境变化,自动匹配最优定位模式,定时上报对象的位置信息、健康数据,记录随时查询、安全报警实时通知。
历史轨迹回溯
管理后台支持对设备半年内定位数据进行查询并进行轨迹回放,并展示设备电量、设备状态、心率等数据记录。
虚拟电子围栏
管理后台支持设置通过行政区域及自定义绘制方式两种方式设置可活动围栏。可自定义选择电子围栏报警类型,支持进入、进出以及进入/进出报警。
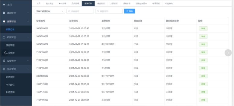
报警信息管理
监控平台实时持续接收设备的状态、健康监测异常情况,心率异常、电量过低等异常情况,平台将会第一时间发出声音及图文推送报警信息等方式提醒相关管理人员。
人员档案管理
可通过平台进行高风险岗位人员进行档案创建,将档案信息录入到本平台,作为该人员的基本信息。
移动管理端APP
管理人员可在APP上查询高风险岗位人员围栏、在线状态等信息。
其他功能
行为分析
紧急求救
及时通信
拆卸报警、剪断报警
翰东疫情防控人员定位智能管控系统建成后,可实现进出高风险岗位人员位置、状态信息和移动轨迹实时掌控,并以此为基础,将事件位置、违规类型与受控目标真正关联起来,从而迅速实现事件预防,避免疫情扩散事件风险的发生。
翰东定位
让管理更简单·让世界更安全